中山市沙溪镇全员核酸检测通知

更新时间:1月14日
经研究决定,1月14日,沙溪党群服务中心、星宝时代广场和龙瑞国际服装城三个检测点延迟工作到今晚21时,请仍有检测需要的群众自行前往上述三个检测点进行检测。
1月15日9-12点,沙溪镇党群服务中心继续开展核酸检测。

更新时间:1月13日
关于在沙溪镇范围开展全员核酸检测的通知
沙溪镇广大市民群众:
2022年1月13日,我市在就诊患者人群中发现一例新冠病毒核酸阳性个案。为保障人民群众健康安全,根据全市统一部署,沙溪镇将于1月14日(星期五)早上7:00-晚上7:00在全镇63个检测点开展新一轮全员核酸检测,检测时间为一天。为了您和家人的健康,请务必落实“应检尽检”,确保不漏一户,不落一人,请您按指引就近进行检测。现就全镇核酸检测工作有关安排通知如下:
一、检测范围:全镇市民(含户籍人口、外来人口)
二、采样时间:2022年1月14日(星期五)早上7:00-晚上7:00
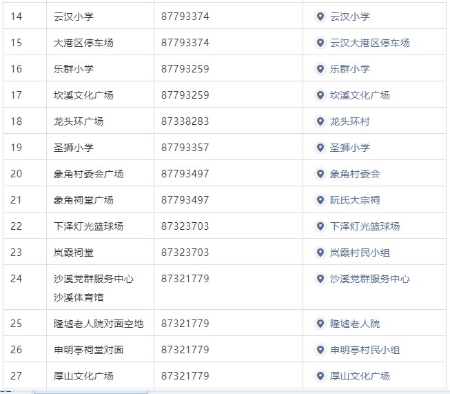
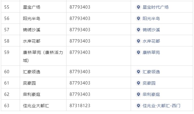
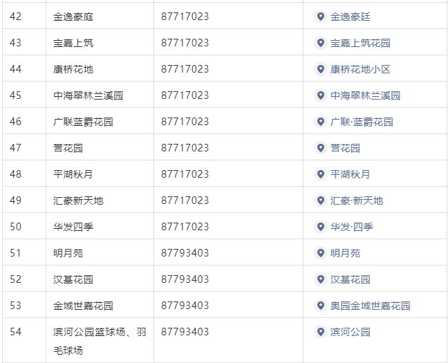
三、采样点设置:详见下方核酸采样点地址列表,请广大市民就近选择检测点。
四、注意事项:
1、加强健康监测请广大市民群众密切关注所在村(社区)有关通知,做好自我健康监测,如粤康码为黄码,或有发热、咳嗽等不适症状的,应主动向所在村(社区)报告,立即就近前往医疗机构发热门诊就诊,暂缓前往核酸采样点。
2、配合现场采样前往核酸采样点的市民群众,请携带身份证等有效身份证明,有序到达指定地点,按照现场工作人员指引配合开展核酸检测。检测时请主动出示粤康码,全程佩戴口罩,与他人保持 1 米以上间隔,不交谈,不聚集。过程中如有问题,请第一时间向现场工作人员反映,现场工作人员将竭诚为您服务。
3、减少人员流动请广大市民群众持续做好个人防护,坚持戴口罩、勤洗手、常清洁、用公筷等良好生活习惯,减少不必要外出,不扎堆,不聚集。已经进行核酸检测的市民群众,可通过“粤省事”小程序查询检测结果。
五、温馨提示:1.建议老人、婴幼儿做好防寒措施;企业员工尽量选择在上午时段采样。
2.全面落实“应检尽检”,确保不漏一户,不落一人。对于确实行动不便无法到现场参与采样的高龄老人、残疾人、大月份孕妇等特殊人群,可在所属村(社区)登记联系方式后,安排医护人员提供上门采样服务。
3.核酸检测前如有接种新冠疫苗的(包括第一针、第二针、第三针),请于48小时后再进行核酸采样。72小时内核酸有效的,无需再进行检测。
4.未登记户口,没有身份证号码的婴幼儿,可在“葵花码”等级中证件类型选择出生证进行登记。
沙溪镇新型冠状病毒肺炎疫情防控指挥部
2022年1月13日
